
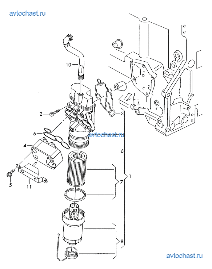
- Фильтр, масляныйКронштейн масляного фильтраF >> 1K-9-109 650*2,0 л.коллич.4-цилиндр.+BPY,BWA
(1) 06F115397H Кронштейн масляного фильтра12 N 90704001 Болт с внутреннимшестигранникомF >> 1K-6-899 000*M7X554(2) N 90704007 Болт с внутреннимшестигранникомM7X5543 06F115441 Прокладка14 06D117021C Pадиатор, масляный15 N 91048802 Винт с внутр. многогранникомM8X2046 06D117070 Прокладка17 06D115562 Фильтрующий элемент с проклад.18 06D115408B Корпус фильтра110 Трубка для удаления воздухасм. панель иллюстр., поз.:см. панель иллюстр., поз.:103-089,5103-095,5BWABPY11 06D121521C Кронштейн1
Новости компании










