
- Конденсатор климат.установкиЦиркуляция хладагентаколлич.PR-KK3
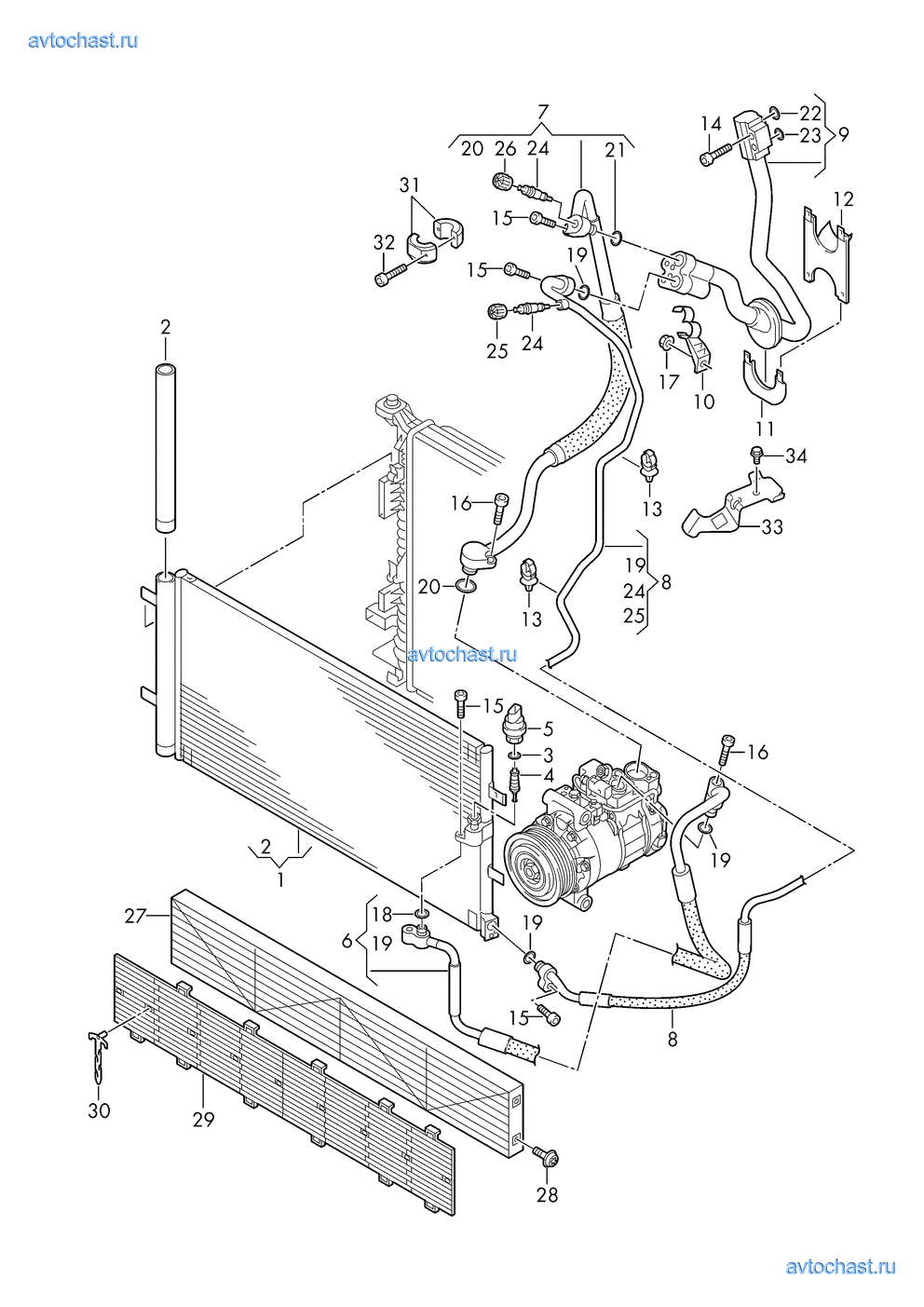
1 4G0260403Q Конденсатор климат.установки12 8U0298403 Вставка осушителя скрепежом13 7H0820896 Уплотнительное кольцо7,6X1,814 8A0820855AA Клапан15 4H0959126B Датчик давления16 4G0816721Q Шланг хладагента(компрессор климат.установки >конденсатор климат.установки)1PR-TD1(6) 4G0816721AA Шланг хладагента(компрессор климат.установки >конденсатор климат.установки)1PR-TQ6,TW6(6) 4G0816721R Шланг хладагента(компрессор климат.установки >конденсатор климат.установки)1PR-TH1(6) 4G0816721P Шланг хладагента(компрессор климат.установки >конденсатор климат.установки)1PR-TG1(6) 4G0816721P Шланг хладагента(компрессор климат.установки >конденсатор климат.установки)1PR-TS8+DJ3(6) 4G0816721R Шланг хладагента(компрессор климат.установки >конденсатор климат.установки)1PR-TS8+G1D+D1V,DD5(6) 4G0816721R Шланг хладагента(компрессор климат.установки >конденсатор климат.установки)1PR-TS8+G1C+D1V,DD5(6) 4G0816721R Шланг хладагента(компрессор климат.установки >конденсатор климат.установки)1PR-TS8+DJ0(6) 4G0816721N Шланг хладагента(компрессор климат.установки >конденсатор климат.установки)1PR-TM8(6) 4G0816721T Шланг хладагента(компрессор климат.установки >конденсатор климат.установки)1PR-1A2+1VJ7 4G0816743AH Шланг хладагента1PR-TD1+G1C,G1D,G1G(7) 4G0816743AJ Шланг хладагента1PR-TD1+G0K(7) 4G0816743AE Шланг хладагента1PR-TQ6,TW6(7) 4G0816743AL Шланг хладагента1PR-TH1(7) 4G0816743AG Шланг хладагента1PR-TS8(7) 4G0816743AL Шланг хладагента1PR-TG1(7) 4G0816743AF Шланг хладагента1PR-TM8(7) 4G0816743AP Шланг хладагента1PR-1A2+1VJ8 4G0816741AG Трубопровод хладагентаD >> - 05.09.20161PR-0F3+1VG(8) 4G0816741AE Трубопровод хладагентаD - 05.09.2016>>1PR-0F3+1VG(8) 4G0816741AG Трубопровод хладагентаD >> - 05.09.20161PR-TG1,TH1,TM8,TQ6,TW6(8) 4G0816741AE Трубопровод хладагентаD - 05.09.2016>>1PR-TG1,TH1,TM8,TQ6,TW6(8) 4G0816741AB Трубопровод хладагента1PR-TS8(8) 4G0816741AF Трубопровод хладагента1PR-1VJ(9) 4G1260712G Трубопровод хладагентаЛВPЛ1PR-1A2(9) 4G1260712F Трубопровод хладагентаЛВPЛ1PR-0F3(9) 4G2260712G Трубопровод хладагентаПPPЛ110 4G0260759B Кроншт. трубки контура хладаг.111 8K0260753B Адаптернижн.112 4G0260753 Проставкаверхн.113 WHT005244 пружинный зажимТрубопровод хладагента214 N 90903502 Винт с цилиндрической головкойс внутренним многогранникомM8X35X15 N 10347204 Винт с внутренним TORX,самостопорящийсяM6X25X16 N 10414402 Винт с цилиндрической головкойс внутренним шестигранникомM8X28X(17) WHT003841 Болт с полукруг. низкой голов.M8X28X18 4E0260749B Уплотнит. кольцо13,7X2,5X19 4E0260749A Уплотнит. кольцо11X2,5X20 8E0260749C Уплотнит. кольцо23,8X2,4X21 WHT001247A Уплотнит. кольцо15X2,5X22 WHT004858 Уплотнит. кольцо13,94X2,62X23 3D0260749C Уплотнит. кольцо9,5X2,5X24 8E0820855 Золотник225 5Q0816581 КолпачокM10126 5Q0816231 Колпачок127 8K0820746D Защитная решетка1PR-T44+1SH,1SJ28 N 90840103 Винт со скр.цил.гол,внутр.TORX4X141PR-T44+1SH,1SJ29 8K0820746C Защитная решетка1PR-TD1,TM8,TV730 8K0867646 пружинный зажимXPR-TD1,TM8,TV731 Инерционный демпферне для этой модели32 Винт с цилиндрич. головкойс внутренним шестигранникомне для этой модели33 4G0260759AA Кронштейн134 N 91079301 БолтM8X161
Новости компании










